Hösten 2012

 

Lite genomgång om vad vi ska göra... temat för hösten 2012 är RADIORÖR!

 

En liten labbplatta ritades upp till ett rör som vi hade åtskilliga av, EAC91, en DIOD-TRIOD. Då kan vi labba på dioden och trioden. Ritningen limmas på en träplatta. Och genom att förbinda rörets anslutningar med de halvt nedslagda mässingsspikar så blir det lättare att koppla och mäta.

 

Till plattan behövs en liten vinkel för att fästa rörhållaren. Här går deltagarna igång direkt och klipper,borrar och filar mässingsbiten.

 

Mässingsbiten skall bockas... och åt rätt håll!! Det är två bockar som skall göras.

 

Därefter skall rörhållaren monteras på mässingsbiten och anslutningarna skall förbindas med spikarna på plattan.

 

 

Här är trioden uppkopplad med 6,3V glödström och 30V anodspänning. Här lär vi oss att ta upp rörkurvor genom att ändra på gallerspänningen. Gallerspänningen får vi genom ett 9V batteri och justeras med ratten till vänster.

.

Skalan är hjälpligt kalibrerad. Här har vi ca -1V i gallerförspänning.

 

Här mäter vi framspänningsfallet på en vanlig kiseldiod fastklämd mellan krokodilerna.

 

Det blir mycket testsladdar för att få allt uppkopplat.

 

Montering av komponenter...

 

Röret CV137, och den civila beteckningen är EAC91. En DIOD-TRIOD med 6,3V glödspänning. Monterat på mässingsvinkeln.

 

Här är plattan uppkopplad som en förstärkare och resultatet visas på oscilloskopet.

 

Ibland behövs fler händer för att hålla i mätpinnarna.

 

Full spänning på plattan.

 

En nöjd konstruktör.

 

Det sociala är också viktigt

 

Fina rörkurvor plottade under en kaffepaus.

 

Koncentration.

 

Loppis av komponenter.

 

Triodens rörkurvor.

 

 

 

 

Full aktivitet mellan teorilektionerna.

 

Högre spänning

Ganska snart så räcker inte 30V skollabb-aggregaten till. Rören vill ha högre spänning. Vi måste bygga egna aggregat. Läs här. En variant är 12V drivet, det andra matas från nätet.

 

 

Stolleprov

Här visade vi hur en "rördiod" fungerar. Med en ide när förra seklet var ungt! Genom att "bränna" av ena glödtråden i en dubbellampa så har vi tillverkat en "rördiod". Den avbrända trådens hållare fungerar nu som anod i en rördiod. Principen användes för att ladda batterier till radioapparater när det hade kommit växelström i huset.

 

Vi får ut ca 20mA likström ur en billampa! Det går åt mycket mer energi i "glödtråden" än vad vi får ut. Men likriktarprincipen fungerar. Lampan till höger går på likströmmen.

 

Mäta okända transformatorer

 

När vi skulle bygga nätaggregatet så kom det fram massor med okända transformatorer.. utan någon som helst märkning.

Det finns ett knep att ta reda på märkspänningen av lindningshärvorna på en okänd trafo. Till det behövs en vridtransformator, amperemeter och en voltmeter. Koppla upp det enligt bilden. Öka spänningen på vridtrafon från noll och uppåt tills amperemetern börjar att röra sig. Läs då av spänningen. Den lindningen har den spänningen. Vad händer?? Jo när amperemetern börjar att röra sig så mättas kärnan i transformatorn, då är vi uppe i max arbetspänningen..

 

Spänningsdubbling

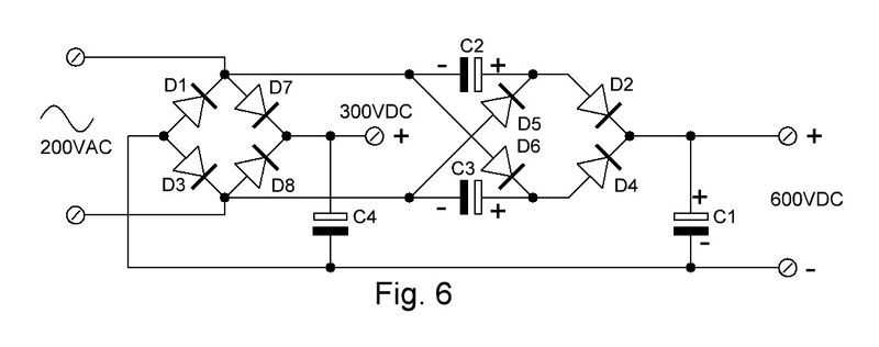
De flesta transformatorerna lämnade circa 200V. Flera tycker att det är för lite! Då kom iden fram med spänningsdubbling. Här är en koppling med både dubbling och standard likriktning. En finurlig koppling... men hur fungerar den?

 

Det är de båda kondensatorerna C2 och C3 som gör jobbet... med dioderna. Här är det positiv period från transformatorn, då laddas C3 upp via D6. C2 som laddades i föregående negativa halvperiod hjälper nu till att dubbla spänningen genom att ligga med sin 300V laddning i serie inkommande 300V puls och åka genom D1 till lasten. Där har vi nu 300V + 300V = 600V.

 

I den negativa halvperioden får vi det omvända förloppet. C2 laddas och C3 + inkommande 300V puls driver lasten.

 

Här är spänningsdubblingen uppkopplad till vänster med tre lampor som last. Vridtransformatorn intill användes till att mäta upp okända transformatorer.

 

Förstärkare

Nu när vi tagit upp rörkurvor och bekantat oss med funktionen. Blev det dax att koppla upp något nyttigt. Först en helt vanlig ljudförstärkare. En MP3 spelare via en trafo för att få upp ingångsimpedansen, en utgångstrafo och en högtalare. En helt standard ljudförstärkare med ca 0,5W uteffekt. Rätt gallerförspänning sköter vi med batteriet och potentiometern P2.

 

Här ett prov med 12V anodspänning. Genom att använda en tändspole som utgångstrafo så blir det helt ok ljud i en högtalare. Effekten? ca 1 milliwatt! Det räcker i ett tyst rum.

 

Sändare

Att bygga en sändare av röret är en enkel match. Inte många komponenter. En kristall på 3560kHz bestämmer frekvensen. R1 är "gallerläcka" och C1/L1 avstämmes till högsta uteffekten. Linken L2 går till antennen.

 

Med 190V så kommer det ut ca 0,5W i 50 ohm's last. Spolen är lindad på kapslingen till en filmrulle.

 

Vi behöver kristaller till våra sändare.

 

Föregående sändarprojekt med transistorer tillsammans med rörsändaren.

 

Fortsättning

Nu börjar vi bli klara med labbplattan och söker nya projekt. Vi funderar på en Jones sändare. Två rörfunktioner i push-pull koppling. Finnarna använde denna koppling under kriget i sina sabotagegrupper. De behövde en liten bärbar sändare.

Deras sändare var en frisvängande avstämd astabil multivibrator. Med ett fåta komponenter fick de ihop en sändare på ca 0,5W. Genom att de byggde in den i en gjuten aluminiumkapsling så blev den frekvensstabil. Lampan användes som kontroll att sändaren fungerade. Trådantennen ingick i avstämningskretsen, så den fick inte ändras i längd.

 

Motsvarande koppling med röret 6J6/ECC91. Det ger några Watt ut. Och inte lika stabil som finnarnas.

 

Kopplingen med 6J6.

 

Joneskopplingen

Här är kopplingen som Jones utvecklade innan kriget. Den är kristallstyrd. Det är denna koppling som vi skall laborera med under våren.

Vi fortsätter....

Tonny/NUN plundrar komponenter till sitt sändarbygge

 

Leif/MCD testar både PWM-omformare och en sändare med QQE04/15 som han klämmer ur ca 10W

 

Sändaren uppbyggd på ett enhetschassi.

En liten film från labbrummet

 

 

Nu labbar vi med PWM-styrning

 

Leif/MCD provar olika transistorer i PWM kopplingen

 

 

20130218

Här studeras de mekaniska filtren i en slaktad länkstation

 

Här sökes problemet med eller utan glasögon...

 

 

Push-Pull sändare med 6AQ5 på ett enhetschassi

 

Teorigenomgång av en enkel konverter till donglemottagare för att komma åt kortvågen!

 

 

En enkel ESR-mätare som enkelt dömer ut dåliga elektrolytkondensatorer.

 

 

 

Slakt av en länkstation på jakt efter ringdiodblandare... till konvertern för donglemottagaren.

 

Gosaker för GHz folket.

 

Planer på ett stutsteg i Push-Pull...

 

 

 

20130221

 

Tonny mäter upp några 807 rör

 

Ingmar har fixat strömbrytaren i skolans vridtransformator

 

Mätningen av 807:orna

 

Ett gammalt schema från Radiomuseets logga

 

Provkoppling av Radiomuseets logga med ett 6SN7

 

Schemat uppritat i modern form, dessutom måste gallren korsas om det skall fungera.

 

Provkörning... ca 2W ut

 

Spolen består av två parallella trådar, samt den blåa antennlinken.

 

Ett gallermotstånd och en vridkondensator plus liter koppartråd... allt för att bygga en sändare.

 

Radiomuseets logga... en självsvängande historia här uppkopplad med en 6SN7 som plågas till max. Ca 9W ut med alldeles för mycket ström in.

 

Lite modifierad med mittjordad vridkondensator. Stabiliteten är helt OK för att koppla till en antenn.

 

Kondensatorn på 0,33µF mellan matningsspänningen och jord gjorde susen på uteffekten.

 

Här visar Leif ett Push-Pull slutsteg kopplat enligt G2DAF

 

Tavelanteckningarna. Principschemat med G2DAF kopplingen för spänningsmatningen av skärmgallret.

 

Demonstrationen av sändaren

 

En hel hög med dioder i spänningsdubblingen till styrning av skärmgallret.

 

Med ca 2W in ramlar det ut 35W i konstlasten.

 

In och utsidan riktigt skärmat med aluminiumplåten

 

En riktig labbkoppling.

 

Drivsändaren med två 6AQ5 som kördes snällt med endast 2W ut till slutsteget..

 

DDS

 

 

 

Nytt intressant!

 

 

 

 

 

return